Files
qwsy/月度/6月/6月份晨午检bug修复.md
2025-08-12 13:49:51 +08:00

7.6 KiB
Raw Blame History

6.3

1.登录页刷新弹出验证码错误

image-20250603203626460

Warning

原因: 每次刷新页面都会发起 login 登录请求

Tip

修复(6.3):

  • <form> 标签上添加 onsubmit 事件处理

  • .reday 里写入防止刷新时重新提交 POST 请求

  • 调整顶部检测脚本,避免重定向循环

2.登录请求明文传输且密码暴漏

image-20250603203909621

Warning

原因: 前端登录表单两个密码字段, 加密只加了一个, 而且整个请求体都是暴露的。

Tip

修复(6.4):

  • 只留一个密码字段。
  • 将整个请求体加密传输。已回滚

6.4

1.找回密码校验通不过

image-20250604102525190

Warning

原因:

学校名和用户的单位名没对上, 更改学校名时没有修改用户单位名的逻辑

Tip

修复(6.4):

增加修改学校名称修改用户单位名的逻辑。

6.5

1.前端查询处的内容显示不正确

image-20250605162835902

Warning

原因:

查询不到数据时, 显示的是之前的缓存,后端返回的 json 在没有数据的时候格式不正确。

Tip

修复(6.5):

将全局 json 序列化类中的序列化方式调整, 使返回前端的 json 无论有没有数据都是完整的。

6.11

1.日志输出未能正确显示

image-20250611110545788

Warning

原因:

slf4j 等日志依赖没有配套正确。

Tip

修复(6.11):

删除 log4j2 的依赖,删除 log4j2。xml 文件,用 lombok 和 slf4j 输出日志, 更改 tomcat 配置。

2.学校上报统计率不正确

image-20250612124331736

Warning

原因:

删除学校时, 停课记录未能删除。

Tip

修复(6.12): 增加删除学校同时删除学校听课记录的逻辑。

6.12

1.回滚晨午检系统,重新修复除日志外的上述 bug

Tip

重新部署(6.16):

重新部署后,正常运行。

6.16

1.重复报SaveLogThread的错误

image-20250616131922268

Warning

原因:

1.异步线程中访问了已经被回收的 HttpServletRequest 对象

Tip

修复(6.16):

使用 Spring 异步支持替代手动线程创建,编写 AsyncConfig 自定义线程池

2.查询上报率统计页面点击查询有小黑框

image-20250616132236134

Warning

原因:

jp.loading() 加载提示方法为正确关闭

Tip

修复(6.16):

采用 layer 手动渲染加载, 手动关闭

3.教育用户管理归属部门查询没有起作用

PixPin_2025-06-16_13-43-21

Warning

原因:

sql 中没有 <if> office.id 字段

Tip

修复(6.16)

sql 中添加查询 office.id 字段

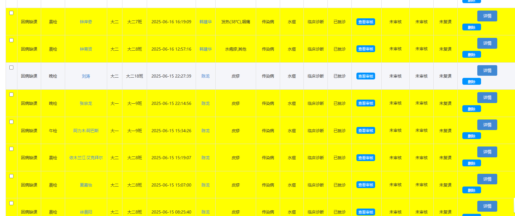
4.预警人数查询与预警触发登记不匹配

image-20250616225836034

image-20250616225918660

Warning

原因:

后端保存预警登记的逻辑不正确

Tip

修复(6.18):

重写原有逻辑,加上异步操作。 (异步操作容易出现数据丢失或重复的现象,现已采用正常方式运行,计划采用其他项目定时任务的方式进行修复)

6.17

1.Druid 未授权漏洞

image-20250617114437396

Warning

原因:

后端未配置用户名密码, 可直接访问

Tip

修复(6.17):

禁用 Druid 监控页功能, 将对应的配置全部注释。

2.URL 重定向漏洞

image-20250617115409216

Warning

原因:

http://10.10.15.152//tab/true?url = https://www.baidu.com这个地址未进行严格的安全检查和过滤

Tip

修复(6.17):

针对前端 js 和后端接口全部注释。

3.修改密码逻辑绕过漏洞

image-20250617121040933

Warning

测试地址:

http://10.10.15.152/a/sys/user/validPhoneCode

http://10.10.15.152/a/appUser/saveChangePwd

原因:

绕过密码找回逻辑,修改返回参数,在未授权的情况下成功修改账号密码

Tip

修复(6.17):

  • validPhoneCode 接口增加 校验 loginName 和 idCard 是否匹配,增加向 session 中增加要修改的用户名
  • 前端修改密码不向后端传输用户名
  • saveChangePwd 针对 session 中的用户名身份进行校验,并清除 session

4.登录明文传输

image-20250617140011792

Tip

修复(6.17):

设置隐藏字段将明文字段加密后由隐藏字段向后端请求

6.18

1.预警查询页面全区县的不显示地区名字

image-20250618190509196

Warning

原因:

数据库中全区县范围的记录没有记录地址信息, 或学校、班级 ID。

Tip

修复(6.18):

在 sql 查询出来后遍历数据, 对于没有地理位置信息的, 通过创建人进行补充。

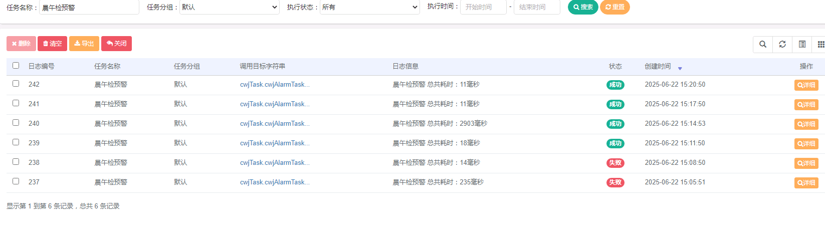
6.20

1.若依项目定时任务触发预警填入预警信息表

image-20250622152513633

6.23

1.用户复课管理导出excel是空白

image-2025-06-23_15-56-27

Warning

原因: 在项目中引入了不同版本的 Apache POI 依赖,导致某些类或字段找不到。

Tip

修复(6.23): 对org.apache.poi实施降级。

6.24

1.用户登录时密码仍出现密文

image.png

Warning

原因: 用户的浏览器有缓存,导致显示之前的内容出现问题。

Tip

修复(6.24): 将login页面加上版本号,重构所有引用此页面的地方,使旧缓存的名字与新页面的名字不一样就可以刷新缓存。

2.学校用户菜单功能重复

image.png

Warning

学校用户的传染病报告登记和传染病报告查询的内容一模一样。 而且在传染病报告登记里学校有登记和删除的权限。

Tip

去除学校用户[传染病报告查询]页面的权限,以及[传染病报告登记]页面的登记删除的权限。